Top.Mail.Ru

Мы используем файлы cookie. Оставаясь на сайте, вы подтверждаете согласие на их использование и обработку персональных данных.

В сети появились новые фотографии симметричного кабеля Lightning

Артур

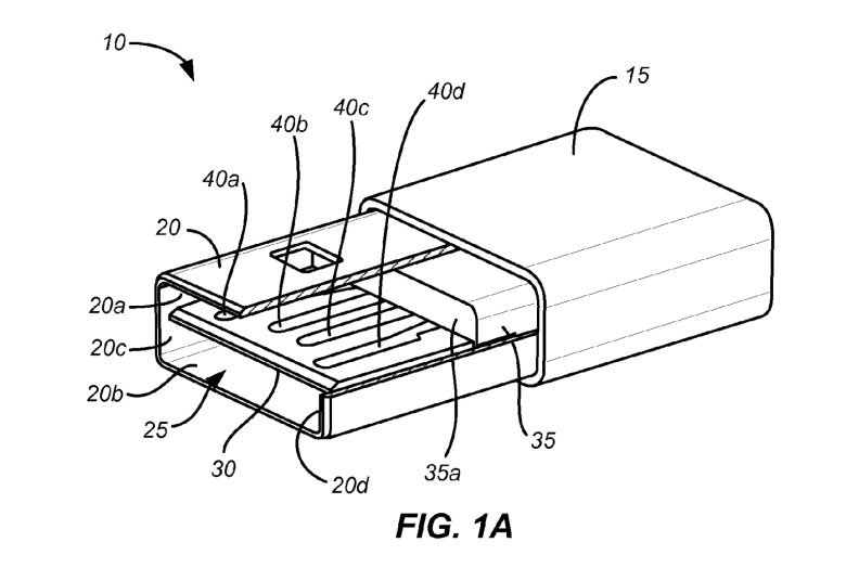
На прошлой неделе появилась информация, что компания Apple может комплектовать мобильные устройства 2014 года обновленным кабелем Lightning, особенностью которого станет симметричный порт USB, который по аналогии с фирменным разъемом будет работать при использовании штекера любой стороной. На первый взгляд, можно подумать, что речь идет о новом стандарте USB 3.1 Type-C, который появится в устройствах с 2015 и не будет совместим с актуальными несимметричными портами. Однако за выходные в сети появилась еще одна фотография кабелей, которые источники называют новым Lightning, а также журналисты раскопали патентную заявку Apple на порт USB с симметричным штекером, который полностью совместим с актуальными поколением Type A USB на любых устройствах. Иными словами, компания Apple действительно может использовать симметричные с обеих сторон кабели в комплекте с iPhone и iPad нового поколения.

0

Будь в курсе последних новостей из мира гаджетов и технологий

Мы в соцсетях

Комментарии (9)

+27
Пользователь удален
Красавцы че

Сообщение отправлено из мобильного приложения iGuides
18 августа 2014 в 12:20
#
+17
Пользователь удален Nick Smith
(Это сообщение не к Nick Smith, а к автору статьи) Автор, ты Lightning когда нибудь видел? Конечно видел! А что тогда apple мешает отказать от железной окантовки? Ничего! Тогда смысл ей делать такой разъём? Никакого смысла нет! А значит usb порт будет выглядеть точно так же как и Lightning, только большего разъёма. Тем более уже давно выпускают такие флешки. Только нужно разъём сделать с двух сторон и готово!
18 августа 2014 в 12:46
#
+17
Пользователь удален Андрюха
Прочных материалов достаточно, сейчас есть пластик прочнее стали.
18 августа 2014 в 14:27
#
Андрюха
+368
Ну раз так, то остается только порадоваться. С другой стороны то устройство, что на вашей картинке, всё равно применяется только в одностороннем порядке. Концепт с окантовкой засовывай как хочешь, и при этом контакты с обеих сторон будут хоршо защищены от попадания грязи и влаги с пальцев, что приводит к окислению.
18 августа 2014 в 14:50
#
+17
Пользователь удален Андрюха
Я написал, что нужно добавить контакты со второй стороны. По поводу окисления, у Lightning с этим нет проблем.
18 августа 2014 в 14:56
#
+41
Пользователь удален
Что-то мне подсказывает сто это лажа... Громоздко слишком...

Сообщение отправлено из мобильного приложения iGuides
18 августа 2014 в 14:06
#
–2
Пользователь удален
2up.
Согласен полностью. Более того юсб на столько себя изжил что уже его пора ликвидировать полностью.
Самса предлагала уйму решений в минимизации коннекторов, в итоге лайтнинг у яблок получился весьма удобный и симпатичный.
Но не надо забывать о мини юсб и микро юсб, сделали бы смснг их 2-х сторонними, цены небыло бы. Имхо

Сообщение отправлено из мобильного приложения iGuides
18 августа 2014 в 17:23
#

Читайте также