Заявка была зарегистрирована Управлением по патентам и товарным знакам США. В ней описывается возможность совместного использования беспроводной зарядки между мобильными устройствами, включая Apple Watch, iPhone, iPad и MacBook. На изображения демонстрируются различные варианты размещения катушек для создания экосистемы.
Подписаться на iGuides в Max, чтобы узнать обо всем первым — max.ru/iguides
Apple описывает широкий спектр возможных реализаций беспроводной зарядки между устройствами. Например, в качестве такого зарядника может выступать крышка MacBook в закрытом состоянии или поверхность ноутбука по бокам от трекпада.Стоит отметить, что описываемая система беспроводной зарядки является двусторонней: устройства могут принимать и передавать заряд через индуктивные катушки, а это позволит выбирать, какой гаджет будет заряжаться. Это также может определяться автоматически с помощью программного обеспечения в зависимости от уровня заряда.
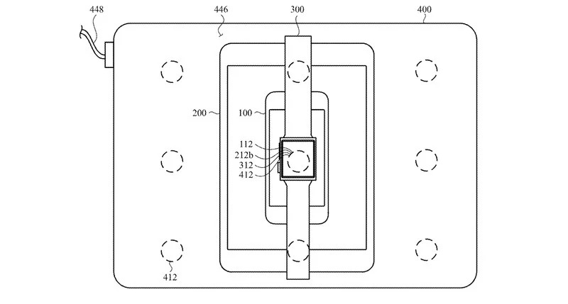
Предполагаемая стратегия Apple заключается в том, чтобы тщательно распределить зарядные катушки в панелях устройств. К примеру, в патенте объясняется, как они могут быть расположены на тыльной поверхности iPad, позволяя одновременно заряжать его и передавать заряд на другие гаджеты. Таким образом предполагаемая система в значительной степени взаимозаменяема благодаря большому количеству возможных комбинаций.
Предполагается, что набор устройств Apple с помощью новой технологии можно будет заряжать вместе от одного источника питания. На одном изображении из патентной заявки показана цепочка, в которой Apple Watch заряжается от iPhone, а тот от iPad, а он в свою очередь от MacBook, подключенного к адаптеру питания.
Apple также рассмотрела ряд программных интеграций для системы беспроводной зарядки между устройствами, которые подскажут правильное размещение гаджетов друг на друге для достижения оптимального процесса. Например, на экране iPad может быть показана правильная позиция для iPhone и уровень его заряда.
Еще одно изображение демонстрирует, как интерфейс планшета может адаптироваться под свободное пространство, в случае если часть экрана закрывает айфон. Также предусматриваются сценарии, в которых смартфон может «дублировать» происходящее на дисплее iPad.
В патенте также неоднократно упоминается система магнитов, которую можно использовать для выравнивания устройств относительно друг друга для зарядки. Она очень похожа на обновленный MagSafe, который дебютировал в линейку iPhone 12. Патент подразумевает, что эту систему можно использовать на любом портативном устройстве, чтобы обеспечить лучший опыт.
Если Apple интегрирует запатентованную технологию, то в конечном итоге получится единая экосистема беспроводной зарядки для всех мобильных устройств компании. Также с помощью этого решения можно избавиться от фрагментации методов заряда. Напомним, сейчас в некоторых устройствах компании используется USB-C или Lighning.



