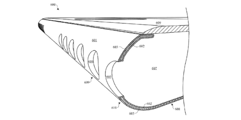
Компания Apple подала патентную заявку на конструкцию смартфона, обеспечивающую улучшенную защиту корпуса от внешних воздействий. Такой смартфон будет успешно противостоять сгибанию, вмятинам, а также царапинам.
Описанная технология не выглядит особенно фантастической и вполне может быть реализована в следующих моделях iPhone.
iGuides в Telegram — t.me/iguides_ru
iGuides в Яндекс.Дзен — zen.yandex.ru/iguides.ru
Дарим подарки за лучшие статьи в блогах



